Этот раздел в процессе наполнения.

РАСПРОДАЖА
Домкраты
Режущий инструмент
Прессы
Трубогибы
Выпрессовщики
Гидронагружатели
Гидроскобы и агрегаты клепальные
Гидроцилиндры
Компоненты гидросистемы
Оборудование для работы с арматурой
Разгонщики фланцевых соединений
Система контролируемого подъема резервуара
Системы подъема карьерной техники
Электромонтажный гидравлический инструмент

Люкоподъемник для закрытия люков полувагонов ЛП-0,1-1,4

Предназначен для подъема люков железнодорожных вагонов при проведении ремонтных и регламентных работ

Грузоподъемность - до 100 кг
Усилие на рукоятке - 160 H
Длина каната - 1400 мм

Задать вопрос
Получить КП
Описание

Люкоподъёмники предназначены для подъёма и фиксации люков железнодорожных вагонов при проведении ремонтных и обслуживающих работ. Оборудование оснащено двойным храповым механизмом, который обеспечивает надежную работу устройства в вертикальном положении и точное позиционирование груза.

Конструкция включает в себя стальной корпус с интегрированной катушкой для троса и эргономичную рукоятку, передающую усилие на храповик. Использование двойного стопорного механизма позволяет фиксировать люк под действием собственного веса в любой точке подъёма, гарантируя безопасность проведения работ. Для удобства монтажа на подвижной состав устройство укомплектовано специальным фиксирующим крючком

Тяговый элемент представлен стальным канатом длиной 1400 мм с крюком, оснащенным предохранительной защелкой для предотвращения соскальзывания груза. Все подвижные узлы механизма защищены от коррозии и рассчитаны на эксплуатацию в условиях открытого воздуха при температурах до +40°C. Компактное исполнение и малый вес позволяют использовать люкоподъёмник как основное переносное средство для мобильных ремонтных бригад.

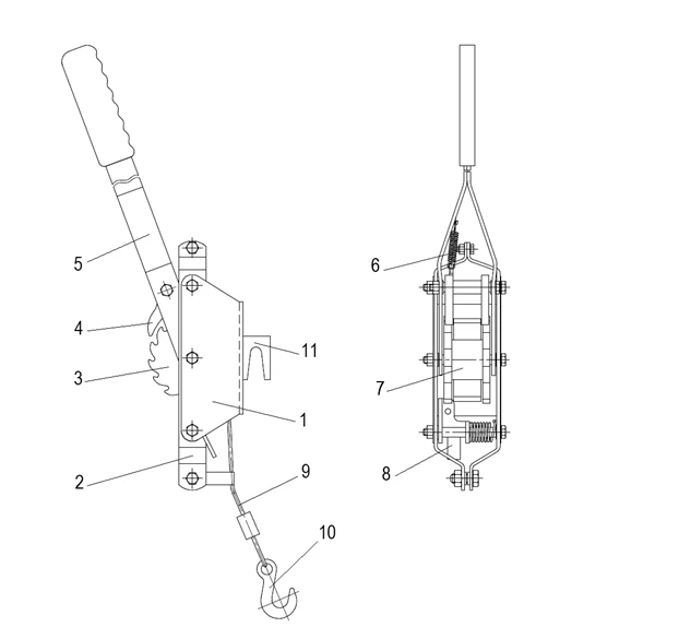
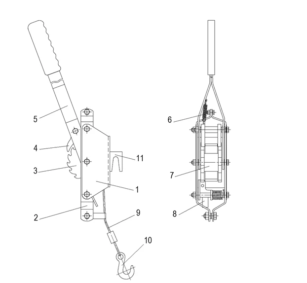
Люкоподъёмник состоит: корпуса 1, рама 2, храповый механизм 3, упор для наматывания троса 4, рукоятка 5, пружина 6, катушка для троса 7, упор для распускания троса 8, трос 9, крюк 10, крючок для закрепления люкоподъёмника 11.

Заказать модель с Вашими параметрами

Другие позиции из раздела: Оборудование для вагоносборочного цеха

Гидроподъемник (подъемник гидравлический)

Предназначен для перемещения людей с инструментом и материалами и проведения работ в вертикальном направлении (вверх-вниз).

Люкоподъемник для закрытия люков полувагонов ЛП-0,1-1,4

Предназначен для подъема люков железнодорожных вагонов при проведении ремонтных и регламентных работ

Грузоподъемность - до 100 кг
Усилие на рукоятке - 160 H
Длина каната - 1400 мм

Передвижной пост гидрофицированного инструмента ПРМ-Д

Предназначен для ремонта грузовых вагонов в условиях депо.

Стапель для сборочных работ

Представляет собой рамную металлоконструкцию, регулируемую по высоте, выполненную как ножничный подъемник.

Отправляю....